DIAGRAMS, SCHEMATICS AND PICTORIALS
Due to the specialized nature of Electric and/or Electronic repairs, RHODES limits this Chapter to Circuit
Board Pictorials, Wiring Diagrams, and Schematics with the intention of aiding the qualified technician.
CAUTION
To avoid possible personal injury or damage to the unit, all electronic repair and
adjustment should be accomplished by a qualified technician.
- 11-1: Schematic - Preamplifier Assembly - 100 Watt Suitcase and Janus I
- 11-2: Printed Circuit Board - Preamplifier Assembly - 100 Watt Suitcase and Janus I
- 11-3: Schematic - Dual 50 Watt Power Amplifier - 100 Watt Suitcase and Janus I
- 11-4: Schematic - Power Amplifier - Janus I
- 11-5: Printed Circuit Board - +/-15 Volt Regulator - 100 Watt Suitcase and Janus I Power Amplifier
- 11-6: Printed Circuit Board - 50 Watt Power Amplifier - Suitcase Piano
- 11-7: Printed Circuit Board - 50 Watt Power Amplifier - Janus I
- 11-8: Schematic - Preamplifier - 80 Watt Suitcase and Super Satellite
- 11-9: Schematic - Power Module - 80 Watt Suitcase
- 11-10: Schematic - Power Supply Regulator Assembly (Peterson Design) -80 Watt Suitcase
- 11-11: Circuit Board Assembly - Power Supply Regulator (Peterson Design) -80 Watt Suitcase
- 11-12: Schematic - Power Amplifier, Master and Slave - Super Satellite
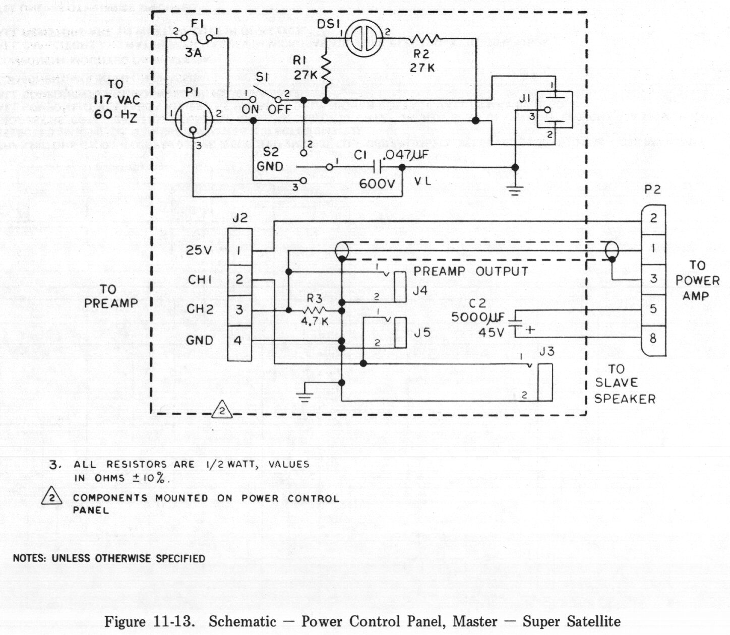
- 11-13: Schematic - Power Control Panel, Master - Super Satellite
- 11-14: Schematic - Power Control Panel, Slave - Super Satellite
- 11-15: Schematic-Converter Kit I
- 11-16: Schematic - Converter Kit II
- 11-17: Schematic - Preamplifier and Power Amplifier (Jordan Design) -Suitcase Piano (Pre 1969)
- 11-18: Connection Diagram - All Printed Circuit Boards - Instructor Console
- 11-19: Schematic - Preamplifier and Power Amplifier - Student Piano (First Version - 1968)
- 11-20: Schematic - Preamplifier and Power Amplifier - Instructor Piano (First Version - 1968)
- 11-21: Wiring Diagram - Instructor Console
- 11-22: Schematic - Master Circuit Board - Instructor Console
- 11-23: Schematic - Power Supply - Instructor Console
TOC - 1 - 2 - 3 - 4 - 5 - 6 - 7 - 8 - 9 - 10 - 11